神州音响网报道
两大LED封装厂日亚化与亿光间的专利战缠讼许久,其专利诉讼也一路从日本打到德国与美国,且毫无停战迹象。美国密执安州联邦陪审团于美国时间4月22日指出,联邦陪审团一致认为日亚化拥有的两项LED专利无效,分别是美国专利号第5,998,925号专利(下称“925”号专利)与美国专利号第 7,531,960号专利(下称“960”号专利)。
联邦陪审团指出,虽然日亚化在“925”号专利与“960”号专利上明显无效,但在“925”号专利上,亿光并未提出“据以实施要件(enablement)【备注】”证明日亚化在此项专利无效。不过联邦陪审团也有提到,在“960”号专利方面,亿光确实有成功提出资料,证明该专利属日亚化无效。

美国专利号: 7,531,960专利

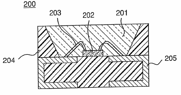
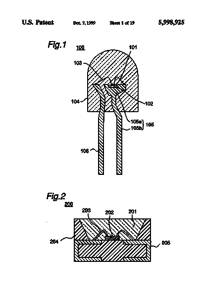
美国专利号:5,998,925专利
亿光于2012年4月提起对日亚化“925”号专利与“960”号专利无效审判之请求。其中,“925”号专利为LED基础材料专利(Indium, gallium, aluminum nitride; garnet containing rare earth oxide)而“960”号专利为白光LED相关专利(Light emitting device with blue light LED and phosphor components)。
而过去曾在工研院电光所服务,对于亿光与日亚化专利战观察已久的威尔立国际智权顾问公司总经理余昱辰表示,日亚化的“925”号与“960”号专利属于门神级的专利,过去因为这两项专利使得台湾LED厂商进入北美市场吃足不少苦头。尽管现阶段只是联邦陪审团的观点认为日亚化的“925”号专利与“960”号明显无效,但一般而言,法官最后判决时不会与陪审团的观点差异太大。若亿光在此战役中胜出,将会取得一个相当好的机会。
此消息发布后,亿光与日亚化律师及双方代表对此并无发表任何响应。但是LEDinside认为,该判决的结果对于亿光有利,但是日亚化仍有可能继续上诉。因此该场专利战仍尚未完全结束。但如果亿光在此场北美的专利战役中胜出,也意味着日亚化在北美的专利壁垒将会被推翻,对于亚洲的LED厂商而言可谓是一大利多。
备注:据以实施要件(enablement)
此一要件,要求专利权人需要揭露相关信息之程度,必须达到使该技术领域相关之人,不需要再耗费过多的试验可据以实施该专利权之申请范围。
【网站声明】
1.本网所发布的内容信息部分来源于网络,并不意味着赞同其观点或证实其内容的真实性。
2.本网站所刊发、转载的文章,其版权均归原作者所有;其他媒体、网站或个人从本网转载使用,必须保留本网注明的“稿件来源”,并自负版权等法律责任。如对稿件内容有疑议,请及时与我们联系。
3.如果对本网站的信息内容有相关争议,请来电告之,本网站将在24小时内给予答复。